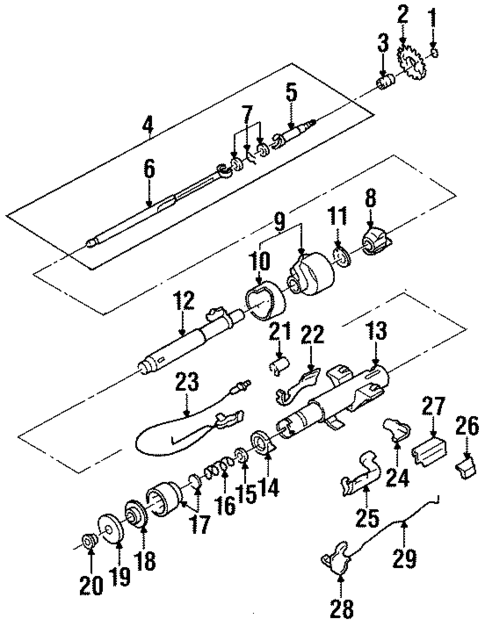
Ignition Lock for 1998 Cadillac DeVille
No.
Part # / Description / Price
Price
2
Signal Cam
GM
GM Notes: PARTS: Order by description.
Description: All models. Floor shift. Column shift.
3
Turn Signal & Hazard Switch
GM
GM Notes: PARTS: Order by description.
Description: All models. Eldorado. Floor shift. Column shift. Without radio control.
4
Signal Switch Actuator
GM
GM Notes: PARTS: Order by description.
Description: Column shift. Floor shift. With air bag. With tilt wheel without telescopic, actuator arm.
6
Black Ignition Lock Cylinder
GM
GM Notes: PARTS: Order by description.
Description: All models. Incl.Housing,Key & Switch. With tilt wheel, without key. Column shift. With tilt wheel & airbag. Floor shift. This part requires programming and/or special setup procedures GM Service Information describes the procedures and special tools neede ...
MSRP $222.03
$156.49
MSRP $222.03
$156.49
6
Acdelcoâ„¢ Ignition Lock Assembly
GM
GM Notes: PARTS: Order by description.
Description: Incl.Housing,Key & Switch. All models. Floor shift. With tilt wheel, without key. With tilt wheel & airbag.
7
Key Alarm Switch
GM
GM Notes: PARTS: Order by description.
Description: With tilt wheel. 1994-97, ignition alarm. With tilt & telescopic, key alarm switch. 1994 with tilt. Column shift, ignition alarm. 1995-03 without tilt column, with zr2. 1995-04 with tilt column, with zr2.
8
Wiper Switch
GM
GM Notes: PARTS: Order by description.
Description: All models. Floor shift. With tilt wheel. Column shift. Buick. Oldsmobile. Cadillac.
9
Signal Switch Pin
GM
GM Notes: PARTS: Order by description.
Description: 1992-94, 1992-94 with tilt wheel, turn signal lever.
10
Dimmer Switch Actuator
GM
GM Notes: PARTS: Order by description.
Description: 1985-95 with tilt. With tilt wheel, dimmer switch rod. 1990-92, rod. With tilt & telescopic. 1992-94, 1992-94 with tilt wheel.
11
Steering Column Housing Cover
GM
GM Notes: PARTS: Order by description.
Description: This GM Genuine Part is designed, engineered, and tested to rigorous standards and is backed by General Motors
12
Housing Cover Base Plate
GM
GM Notes: PARTS: Order by description.
Description: 1985-95 with tilt. 1990-92, manual trans. 1992-96 with tilt wheel. Floor shift. Column shift. Labeled ccm.
13
Steering Column Housing Cap
GM
GM Notes: PARTS: Order by description.
Description: This GM Genuine Part is designed, engineered, and tested to rigorous standards and is backed by General Motors
14
Bearing Housing
GM
GM Notes: PARTS: Order by description.
Description: All. Column shift. Eldorado. Without console. Without floor shift.
15
Cylinder & Keys Lock Bolt
GM
GM Notes: PARTS: Part included with housing assembly. Order by description.
Description: 1995-99 without tilt wheel. Wheel lock.
16
Shoe Lock
GM
GM Notes: PARTS: Part included with housing assembly. Order by description.
Description: 1991-96 with tilt wheel, with notch. Shoe, with notch. With tilt wheel without telescopic, with notch. Tilt, 4 pos.
16
Lock Pawl
GM
GM Notes: PARTS: Part included with housing assembly. Order by description.
Description: 1991-96 with tilt wheel, without notch. Shoe, without notch.
17
Shaft Assembly
GM
GM Notes: PARTS: Part included with housing assembly. Order by description.
Description: Ignition switch. Switch actuator. With tilt & telescopic. Floor shift, upper. Column shift, upper with column shift.
18
Lever
GM
GM Notes: PARTS: Part included with housing assembly. Order by description.
Description: Floor shift. 1992-94, 1992-94 with tilt wheel, tilt housing internal release lever, tilt housing internal release lever. 1994 with tilt, upper. With tilt wheel without telescopic. Tilt lock.
19
Rack Package
GM
GM Notes: PARTS: Part included with housing assembly. Order by description.
Description: G10-30 vans. All models. 1994-97. Without air bag, without air bag. Automatic transmission. Floor shift with tilt column with key release. Tilt and telescopic.
No.
Part # / Description / Price
Price
1
Multi-Purpose Retaining Ring
GM
GM Description: 1995-00 1995-2000 with tilt wheel. 1995-00 1995-99 without tilt wheel. Without active brake control. upper. Upper shaft,snap ring. Clockspring,ring. Column shift. Floor shift. DeVille DTS with power tilt wheel. upper. 2003-07. upper. 2008-09 with power tilt. upper. This GM Genuine Part is designed, engineered, and tested to rigorous standards and is backed by General Motors
MSRP $0.61
$0.41
MSRP $0.61
$0.41
2
Lock Plate
GM
GM Notes: PARTS: Order by description.
Description: All models. 1991-96 with tilt wheel. With tilt, with air bag. 1985-95 with tilt wheel. 1994-97, steering shaft. Floor shift. 1992-96 with tilt wheel. 1994-96 with tilt wheel. 1990-91. Column shift, column shift.
3
Steering Shaft Upper Bearing Race Seat
GM
GM Notes: PARTS: Order by description.
Description: This GM Genuine Part is designed, engineered, and tested to rigorous standards and is backed by General Motors
MSRP $20.65
$13.77
MSRP $20.65
$13.77
6
Lower Shaft
GM
GM Notes: PARTS: Order by description.
Description: Eldorado. Floor shift, without active brake ctl. All models. Without active brake control. Without active braking. Column shift, without active brake ctl.
7
Steering Shaft Sphere
GM
GM Notes: PARTS: Order by description.
Description: This GM Genuine Part is designed, engineered, and tested to rigorous standards and is backed by General Motors
8
Column Assembly Support
GM
GM Notes: PARTS: Order by description.
Description: Eldorado. With console. With floor shift. With air bag. Buick. Oldsmobile. Riviera. Toronado.
8
Housing Support
GM
GM Notes: PARTS: Order by description.
Description: Without floor shift. Column shift. Eldorado. Without console.
10
Lower Shroud
GM
GM Notes: PARTS: Part included with lower bowl. Order by description.
Description: Without tilt wheel, auto trans. Column shift. All models. Without active brake control.
11
Lock Plate
GM
GM Notes: PARTS: Order by description.
Description: All models. With tilt wheel, lock support. Tilt wheel with floor shift. 1994-97, neutral start. Column shift, neutral start. 1994 with tilt, lower, neutral. With tilt wheel without telescopic. Column shift, lower. 1994-96 with tilt wheel, neutral start. Safety lock.
13
Jacket
GM
GM Notes: PARTS: Order by description.
Description: Eldorado. With console. All models. With floor shift.
13
Jacket
GM
GM Notes: PARTS: Order by description.
Description: All models. Without floor shift. Column shift. Eldorado. Without console.
15
Bearing Flange Spring
GM
GM Notes: PARTS: Order by description.
Description: 1994-97. Manual tilt. With tilt & telescopic. Floor shift, lower. Column shift, lower with column shift.
17
Retainer
GM
GM Description: Buick, cadillac. Column shift. Floor shift. Without active braking. 1990-91. Riviera, Eldorado. Without active brake control.
17
Retainer
GM
GM Description: Floor shift, with active brake ctl. Riviera, Eldorado. With active brake control. With active braking.
19
20
Lower Bearing Bushing
GM
GM Notes: PARTS: Order by description.
Description: Column shift. All. Floor shift, without active brake ctl. DeVille.
21
Interlock Solnd
GM
GM Notes: PARTS: Order by description.
Description: 1985-95 with tilt. With tilt wheel. Column shift, lower. Lock shift.
23
Actuator
GM
GM Notes: PARTS: Order by description.
Description: Column shift. Ignition switch with shift lock cable, 4.6L. Ignition switch with shift lock cable, ignition switch with shift lock cable.
27
Ignition Switch
GM
GM Notes: PARTS: Order by description.
Description: All models. Eldorado. With console. With floor shift.
27
Ignition Switch
GM
GM Notes: PARTS: Order by description.
Description: All. Without floor shift. Column shift. Eldorado. Without console. Work with vehicle electronics to help optimize vehicle capabilities
28
28
Dimmer Switch
GM
GM Description: All models. Without floor shift. Column shift. Eldorado. Without console.

